Op regelmatige tijdstippen wil de Octrooicel van Buildwise (OCBC) een recent gepubliceerd octrooi of octrooiaanvraag met relevantie voor de bouwsector onder de aandacht brengen. Octrooien zijn publiek beschikbare documenten en bevatten een schat aan technische informatie. In ruil voor de octrooibescherming moeten uitvinder en/of aanvrager immers een gedetailleerde beschrijving van zijn uitvinding in het octrooi opnemen (principe van wederkerigheid).
‘Uitvinding van de maand’ analyseert de inhoud van een octrooi, maar doet geen uitspraak over de geschiktheid voor gebruik of toelaatbaarheid van de uitvinding. Voor octrooibescherming moet de technische uitvinding nieuw, inventief en industrieel toepasbaar zijn. De selectie komt tot stand door een aantal IPC-klassen (International Patent Classification) waar regelmatig bouwgerelateerde octrooien onder verschijnen maandelijks te screenen op publicaties met een Belgische uitvinder of aanvrager. De selectie gebeurt vervolgens in functie van het onderwerp (sanitair, schrijnwerk, ruwbouw,…) en het type aanvrager (KMO, GO, particuliere uitvinder), waarbij een voldoende variatie wordt nagestreefd.
De publicatie heeft tot doel de bouwsector vertrouwd te maken met octrooien en aan te tonen dat octrooien niet steeds complexe producten betreffen. Bovendien kunnen ze als inspiratie dienen voor ondernemingen die willen innoveren. Lezers die andere octrooien willen nomineren mogen OCBC zeker contacteren.
Aanvrager : Comptoir du bâtiment NV [BE]
- Uitvinder : Bobby O’Neill [IE] I
- PC-classificaties : E04F 13/08 & E04F 13/14
- Publicatienummer : EP4334543A1 – Statuut Octrooiaanvraag
- Publicatiedatum : 13/03/2024
- Prioriteitsdatum : 07/05/2021
Bevestiging panelen tegen een wand
Probleemstelling
Deze uitvinding heeft betrekking op de bevestiging van gevelpanelen met een decoratief aspect aan de achterliggende structuur. Degelijke panelen worden vaak gerealiseerd in gevelcement en krijgen een decoratieve afwerking waarbij men zo weinig mogelijk zichtbare bevestigingen wil hebben. Een traditioneel bevestigingssysteem is opgebouwd uit een regelwerk van horizontale en verticale profielen, waarbij er hangers onzichtbaar bevestigd worden aan de achterzijde van de gevelplaat (via bouten of groeven). Volgens de Octrooiaanvraag zijn er, hoewel effectief in het uitvoeren van hun functie, een aantal nadelen verbonden aan deze systemen..
1. Het raamwerk van horizontale en verticale profielen is duur en omslachtig
2. Het gebruik van panelen wordt moeilijk of zelfs onmogelijk zonder schade aan te brengen aan het paneel
3. Uitzetting in de verticale richting ten gevolge temperatuursverandering is nagenoeg onmogelijk met spanningsopbouw in het gevelpaneel tot gevolg
Sommige systemen maken enkel gebruik van horizontale profielen, maar dit vereist een zeer nauwkeurige plaatsing en kan een ongewenste vermindering van de spouw achter de gevelpanelen tot gevolg hebben.
![]() |
![]() |
![]() |
|
![]() |
![]() |
mstig uit EP 4334543 A1
Beschrijving uitvinding:
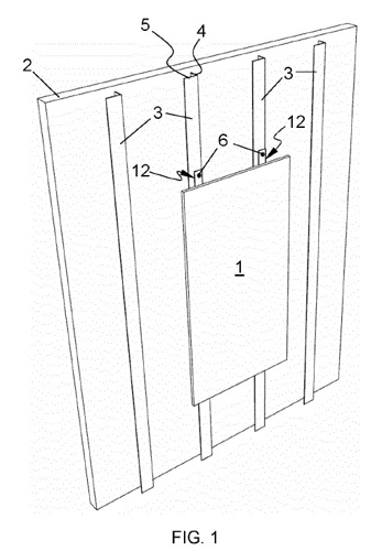
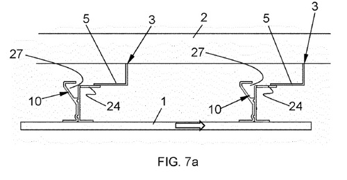
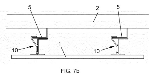
Voor de bevestiging van gevelpanelen uit bijvoorbeeld vezelcementplaten wordt er traditioneel gebruik gemaakt van een regelwerk dat bestaat uit verticale en horizontale profielen waartegen de gevelpanelen vervolgens bevestigd worden. Hier bestaat de structuur die bevestigd wordt tegen de dragende wand enkel uit verticale profielen die bestaan uit L, U of T-profielen (3,4 &5) waar de beugels (10) voor de bevestiging van de gevelpanelen in een latere fase zullen worden overgeschoven (figuur 7a & figuur 7b).
De beugel (10) voor de bevestiging van de gevelpanelen (1) is bevestigd via groeven (11) aangebracht in de achterzijde van het gevelpaneel uit vezelcement. Die groeven hebben een bepaalde lengte, zodat er een zekere speling mogelijk is bij het plaatsen van de beugels. De groeven lopen parallel met de verticale profielen (3,4 &5) bevestigd tegen de achterliggende wand. De vaste bevestigingspunten (6) worden gemaakt door beugels met een iets langer bovenprofiel die uitsteken boven de bovenrand (13) van het gevelpaneel. Op die manier heeft men 2 vaste bevestigingspunten, aangevuld met mogelijkheid voor verticale uitzetting/vervorming via de bevestiging van de beugels in de groeven.
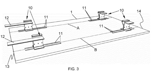
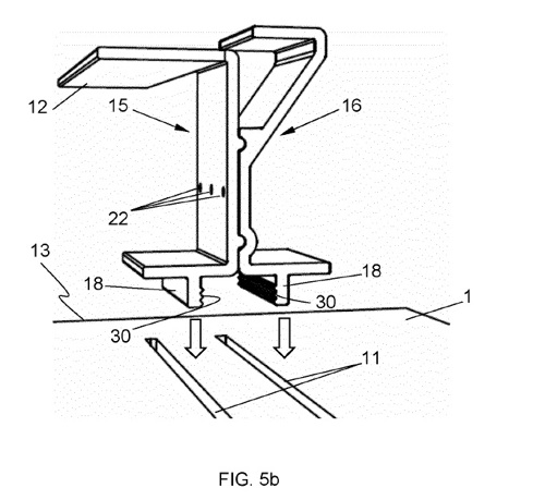
De beugels zelf bestaan uit 2 deelprofielen (15 & 16) zoals weergegeven in figuur 5b die met elkaar mechanisch verbonden worden (22), op die manier ontstaat een halfopen ruimte tussen beide deelprofielen. Beide beugeldelen (15&16) worden gelijktijdig bevestigd in de groeven (11) aangebracht in de achterzijde van het gevelpaneel en kunnen voor de goed hechting ook nog eens voorzien worden van een profilering (30). Wanneer beide beugeldelen correct gepositioneerd zijn in de groeven worden ze mechanisch met elkaar verbonden (22).
Het gevelpaneel afgewerkt met 4 beugels (figuur 3) is nu klaar voor montage. Die montage gebeurt door het gevelpaneel met beugels horizontaal te verplaatsen (figuur 7a & 7b) en over de profielen te schuiven die bevestigd zijn tegen de achterliggende wand. De halfopen ruimte die ontstaat tussen de 2 beugeldelen wordt over de profielen geschoven die bevestigd zijn tegen de achterliggende dragende wand. Op die manier ligt ook de horizontale positie van het gevelpaneel vast, het paneel kan nu vast bevestigd worden ter hoogte van 2 punten (6).
In het octrooi worden vervolgens ook nog een aantal varianten besproken die eveneens vallen onder de octrooibescherming. Als belangrijkste voordelen worden de eenvoudige montage genoemd, de beperktere draagstructuur die enkel uit verticale profielen bestaat en de circulariteit van de verbinding waardoor de gevelpanelen kunnen gerecupereerd worden zonder bijkomende schade.
OCBC is de octrooicel van Buildwise opgericht in samenwerking met de Dienst Intellectuele Eigendom van de FOD Economie/ SPF Economie/ FPS Economy om de bouwsector bewust te maken van het belang van intellectuele eigendom, octrooibescherming en octrooien als een bron van technische informatie.
Contact
Heb je een vraag? Wij helpen je graag verder!





